Experimental Study on Melting Process in an Industrial Level Molten Salt Tank

Updated:2020-04-13 15:27 Source:Journal of Thermal Science
Abstract
Thermal energy storage (TES) is an important part of concentrating solar power (CSP) plants. The primary advantage of TES in CSP plants is the ability to dispatch electrical output to match peak demand periods and reduce the levelized cost of electricity. The major challenge of the molten salt is its high freezing point, leading to additional complicating freeze protection.
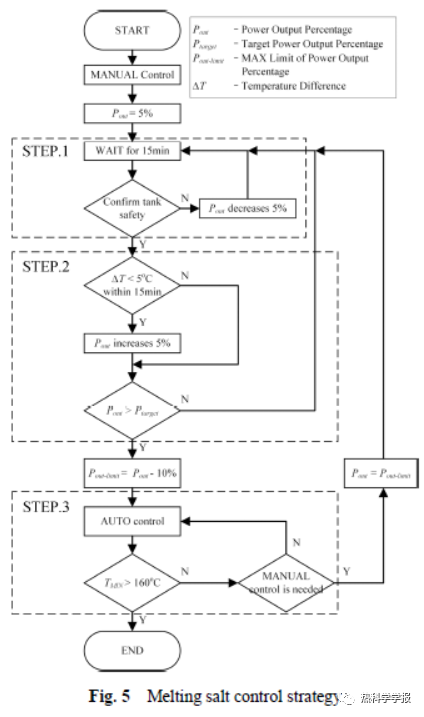
This paper presents the experimental results of melting process of a mixed nitrate salt with a melting temperature of 115 in a 20 m 3industrial level tank. Twenty electrical heaters inside the tank are used to heat the salt with a total maximum input power of 240 kW. In order to ensure a safe and fast melting process, the whole process adopted an operating strategy of combining automatic control with manual control. The whole melting process lasted for 314 hours.
The salt temperature showed the greatest increase in the first 38 hours. Finally, an economic operation mode of molten salt heat storage tank was obtained.

Hot list

Recommended

Baidu
map